How to solve the problem of making an extra width lane turnstiles swing gates without compromise to
- ATB Tech
- Nov 5, 2015
- 2 min read
The limitation to a lane width is always the limitation to turnstile passages. The normal turnstile passage width can be only for small handrails,luggage, baby wheeler,etc.
What are the factors that limit the turnstile width.
According to our compare with different types of turnstiles gates’ blocking structures, we find out that swing gates are with most flexible and width adjustments for extra wide passages by extending the swing leaf. But there are also some problems arises for such extension for normal turnstiles.
The passage length and housing also need to extend which will take up more footprints, and affects the aesthete
The swing leaf will be heavier, the inertia will be larger that will cause slow,un-smooth,vibration during turnstile gates operation and hence reduce the life spam of the motor.
With extra long leaf, it is not easy to control and cause crush on passengers,increase the risk of harm to people.
How We solve such product problem with extra wide lane requirements?
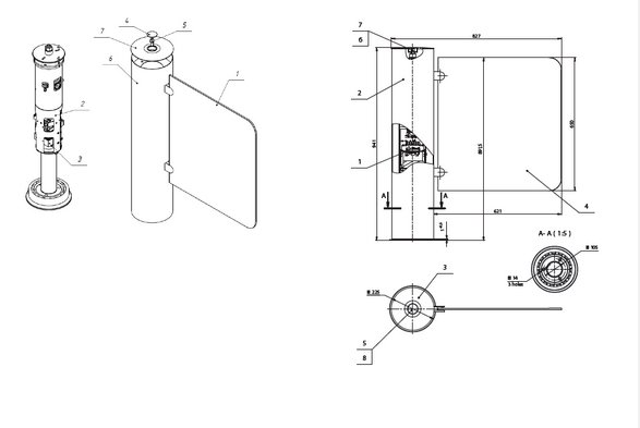
We adopt the unique cylinder style of housing designs,with minimum foot prints that can be flexibly applied to high end buildings entrance& exit access control. ATB Tech develop own mechanism design the best fit in the cylinder housing with customized robust motors,slim control boards,and mechanical anti-pinch functions that make a perfect running with high accuracy and fast speed. Also with options to tempered glass/acrylic leafs for cylinder glass speed gates.
How to realize such functions?
We adopt rigid frame design for mechanism movement parts, enhance the mechanism bearing strength and tensile stress.
Tailor made compact design DC brushless motor is adopted to fit our slim cylinder housing.
How we realize smooth and speedy open/close of swings? And without infrared sensors to accomplished anti-pinch to passengers? To challenge such a huge problem. We adopt Double closed loop feedback control system,that can sense the revolving position,speed,acceleration,hinder strength etc to achieve the high accuracy control.
by ATB Tech www.security-atb.com
















































Comments